Warunki techniczne, jakim powinny odpowiadać budynki i ich usytuowanie, to zbiór przepisów prawnych, które stanowią fundament każdej inwestycji budowlanej w Polsce. Ich znajomość jest absolutnie kluczowa dla każdego, kto planuje budowę, rozbudowę czy nawet remont, ponieważ regulują one każdy aspekt od projektu po realizację, zapewniając bezpieczeństwo, funkcjonalność i zgodność z prawem.
Warunki Techniczne budynków: co musisz wiedzieć o przepisach i ich praktycznym zastosowaniu
- Podstawą prawną jest Rozporządzenie Ministra Infrastruktury z 12 kwietnia 2002 r. (z późniejszymi zmianami), kluczowe dla projektantów i inwestorów.
- Regulują one szeroki zakres wymagań, od usytuowania budynku na działce, przez bezpieczeństwo konstrukcji i pożarowe, po higienę i ochronę środowiska.
- Kluczowe aspekty to: minimalne odległości od granic działki, klasy odporności ogniowej, standardy wentylacji i ochrony przed hałasem.
- Przepisy kładą duży nacisk na energooszczędność (standard WT 2021), promując niskie współczynniki U i wskaźnik EP.
- Ważnym elementem jest także zapewnienie dostępności dla osób z niepełnosprawnościami w budynkach użyteczności publicznej i wielorodzinnych.
Warunki techniczne: twój niezbędny przewodnik po przepisach budowlanych
Dla każdego inwestora i właściciela nieruchomości, znajomość Warunków Technicznych jest w moim przekonaniu absolutnie fundamentalna. Dlaczego? Przede wszystkim zapewnia ona zgodność z prawem, co chroni przed kosztownymi karami, koniecznością przeróbek czy nawet rozbiórką. Po drugie, gwarantuje bezpieczeństwo użytkowania budynku zarówno dla mieszkańców, jak i otoczenia. Nie zapominajmy także o optymalizacji kosztów; prawidłowe zaprojektowanie i wykonanie zgodnie z WT pozwala uniknąć błędów, które w przyszłości mogłyby generować ogromne wydatki na naprawy czy modernizacje. Wreszcie, budynek spełniający aktualne normy to inwestycja o znacznie wyższej długoterminowej wartości, zarówno rynkowej, jak i użytkowej.
Przepisy Warunków Technicznych mają szeroki zakres zastosowania i dotyczą praktycznie wszystkich typów budynków od skromnych domów jednorodzinnych, przez obiekty mieszkalne wielorodzinne, aż po skomplikowane budynki użyteczności publicznej i obiekty komercyjne. Co ważne, nie odnoszą się one jedynie do nowych inwestycji. Ich rygory obowiązują również w przypadku istotnych zmian w istniejących obiektach, takich jak rozbudowa, nadbudowa, przebudowa czy zmiana sposobu użytkowania. To oznacza, że nawet planując adaptację poddasza, musimy mieć na uwadze aktualne wymogi.
Podstawą prawną, o której musimy pamiętać, jest Rozporządzenie Ministra Infrastruktury z dnia 12 kwietnia 2002 r. w sprawie warunków technicznych, jakim powinny odpowiadać budynki i ich usytuowanie. To dokument, który był wielokrotnie nowelizowany, aby dostosować się do zmieniających się realiów i postępu technologicznego warto zawsze sprawdzać jego aktualny tekst jednolity, np. w Dz. U. z 2022 r. poz. 1225 czy Dz. U. 2024 poz. 726. Z mojego doświadczenia wynika, że to właśnie w nim znajdziemy szczegółowe wytyczne dotyczące najważniejszych obszarów regulacji, takich jak:
- Zabudowa i zagospodarowanie działki budowlanej: Określa, jak blisko granicy działki możemy budować i jakie są tego konsekwencje.
- Bezpieczeństwo konstrukcji: Gwarantuje, że budynek będzie stał stabilnie i bezpiecznie przez lata.
- Bezpieczeństwo pożarowe: Reguluje wszystko, co związane z ochroną przed ogniem i ewakuacją.
- Higiena, zdrowie i ochrona środowiska: Dba o komfort i zdrowie użytkowników, np. poprzez wentylację czy ochronę przed wilgocią.
- Oszczędność energii i izolacyjność cieplna (standard WT 2021 i nowsze): To serce współczesnego budownictwa, promujące energooszczędne rozwiązania.
- Dostępność dla osób niepełnosprawnych: Zapewnia, że budynki są dostępne dla wszystkich.
- Wyposażenie techniczne budynków: Dotyczy instalacji, takich jak wodociągowa, kanalizacyjna, grzewcza, elektryczna i gazowa.

Lokalizacja ma znaczenie: jak prawidłowo usytuować budynek na działce?
Jednym z pierwszych i najważniejszych aspektów, jakie musimy rozważyć, planując budowę, jest prawidłowe usytuowanie budynku na działce. Warunki Techniczne precyzyjnie określają minimalne odległości od granicy działki, mające na celu zapewnienie bezpieczeństwa pożarowego, dostępu do światła słonecznego oraz komfortu użytkowania sąsiednich nieruchomości. Zgodnie z przepisami, standardowo budynek powinien być usytuowany w odległości:- 4 m od granicy działki, jeśli ściana budynku posiada okna lub drzwi. Ta odległość ma zapewnić odpowiednie nasłonecznienie i prywatność, a także ułatwić działania ratownicze w razie pożaru.
- 3 m od granicy działki, jeśli ściana budynku nie posiada okien ani drzwi. W tym przypadku głównym czynnikiem jest bezpieczeństwo pożarowe i możliwość swobodnego dostępu do elewacji.
Niezastosowanie się do tych zasad może skutkować poważnymi konsekwencjami, włącznie z odmową pozwolenia na budowę.
Na szczęście, Warunki Techniczne przewidują również pewne wyjątki od tych standardowych odległości, co daje inwestorom większą elastyczność w planowaniu. Najczęściej spotykanym wyjątkiem jest możliwość budowy bliżej granicy w przypadku działek o szerokości 16 m lub mniejszej. W takich sytuacjach przepisy pozwalają na:
- Budowę w odległości 1,5 m od granicy działki, jeśli ściana nie ma okien ani drzwi.
- Budowę bezpośrednio przy granicy działki, jeśli pozwala na to miejscowy plan zagospodarowania przestrzennego lub decyzja o warunkach zabudowy, a także jeśli sąsiedni budynek jest już tak usytuowany.
- Dopuszczenie do budowy bliżej granicy, gdy wymaga tego zabudowa uzupełniająca istniejącą, pod warunkiem zachowania przepisów przeciwpożarowych.
Zawsze warto sprawdzić, czy nasza działka kwalifikuje się do jednego z tych wyjątków, co może znacząco wpłynąć na projekt.
Poza odległościami od granic działki, musimy pamiętać o innych aspektach usytuowania budynku. Warunki Techniczne regulują także minimalne odległości od dróg publicznych, linii energetycznych, gazociągów czy lasów. Na przykład, budowa w pobliżu lasu wiąże się z dodatkowymi wymogami przeciwpożarowymi. Zawsze podkreślam, że konieczność sprawdzenia miejscowego planu zagospodarowania przestrzennego (MPZP) jest absolutnie priorytetowa. To właśnie MPZP, a w jego braku decyzja o warunkach zabudowy, może wprowadzać dodatkowe, często bardziej rygorystyczne, wymogi dotyczące linii zabudowy, wysokości czy intensywności zabudowy, które mają pierwszeństwo przed ogólnymi Warunkami Technicznymi.
Nie możemy również zapominać o zapewnieniu odpowiedniego dojazdu do budynku oraz wystarczającej liczby miejsc postojowych. Warunki Techniczne precyzują, że każdy budynek, a zwłaszcza wielorodzinny czy użyteczności publicznej, musi mieć zapewniony dostęp do drogi publicznej, a także odpowiednie drogi pożarowe. Ponadto, przepisy określają minimalną liczbę miejsc postojowych, która jest zależna od przeznaczenia i wielkości budynku. Jest to szczególnie istotne w gęstej zabudowie miejskiej, gdzie brak odpowiedniej liczby miejsc parkingowych może być poważnym problemem dla użytkowników i sąsiadów.

Fundamenty bezpieczeństwa: co musisz wiedzieć o konstrukcji i ochronie przeciwpożarowej?
Bezpieczeństwo konstrukcji to jeden z filarów, na których opierają się Warunki Techniczne. Budynek musi być zaprojektowany i wykonany w taki sposób, aby w całym okresie jego użytkowania nie zostały przekroczone stany graniczne nośności i przydatności do użytkowania. Oznacza to, że konstrukcja musi być wystarczająco wytrzymała, aby przenosić wszystkie przewidywane obciążenia (własne, użytkowe, śnieg, wiatr) bez ryzyka zawalenia się, a jednocześnie wystarczająco sztywna, aby zapobiegać nadmiernym ugięciom czy drganiom, które mogłyby wpływać na komfort i bezpieczeństwo użytkowników. To kwestia, której nie można bagatelizować, dlatego projektowanie konstrukcji zawsze powierzam doświadczonym inżynierom.
Kluczowym elementem bezpieczeństwa są również klasy odporności ogniowej (REI) dla poszczególnych elementów budynku. To one decydują o tym, jak długo dany element konstrukcyjny będzie w stanie spełniać swoje funkcje w warunkach pożaru, chroniąc budynek i jego mieszkańców przed rozprzestrzenianiem się ognia. Rozszyfrowanie skrótu REI jest proste, ale jego znaczenie ogromne:
- R (nośność)
- Określa czas, przez jaki element zachowuje zdolność do przenoszenia obciążeń.
- E (szczelność)
- Wskazuje czas, przez jaki element zapobiega przenikaniu ognia i gorących gazów.
- I (izolacyjność)
- Mówi o czasie, przez jaki element ogranicza przenikanie ciepła na stronę nienarażoną na ogień.
W zależności od kategorii zagrożenia pożarowego budynku i jego przeznaczenia, Warunki Techniczne precyzują, jakie minimalne klasy odporności ogniowej muszą spełniać ściany, stropy, dachy czy drzwi. To właśnie dzięki nim zyskujemy cenny czas na ewakuację i działania ratownicze.
W kontekście ochrony przeciwpożarowej, niezwykle istotne jest również odpowiednie projektowanie dróg ewakuacyjnych i oddzieleń przeciwpożarowych. Moje doświadczenie pokazuje, że to właśnie te elementy często decydują o skuteczności ewakuacji i ograniczeniu strat. Kluczowe elementy, na które należy zwrócić uwagę, to:
- Drzwi przeciwpożarowe: Muszą spełniać określone klasy odporności ogniowej (np. EI 30, EI 60) i być wyposażone w samozamykacze.
- Ściany oddzielenia pożarowego: To przegrody o wysokiej odporności ogniowej, które dzielą budynek na strefy pożarowe, zapobiegając rozprzestrzenianiu się ognia.
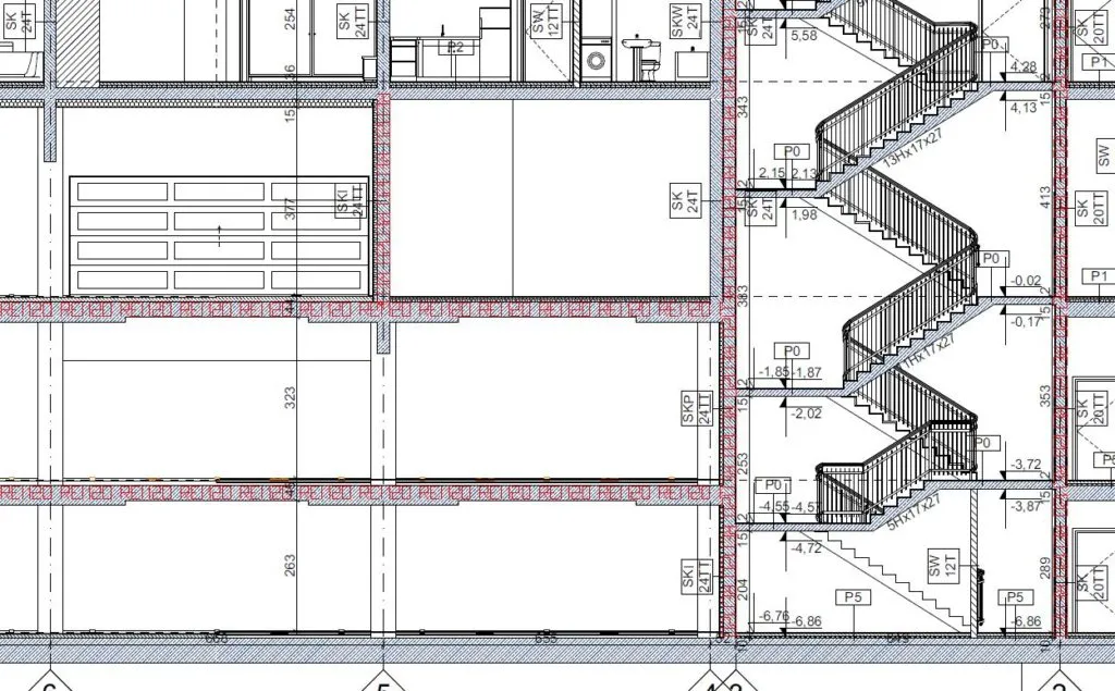
- Korytarze i klatki schodowe: Muszą być odpowiednio szerokie, wolne od przeszkód i prowadzić do bezpiecznych wyjść.
- Oznakowanie dróg ewakuacyjnych: Musi być wyraźne, widoczne i zgodne z normami, aby w sytuacji zagrożenia każdy wiedział, gdzie się udać.
Nie mogę pominąć tematu instalacji gazowej i elektrycznej, które w kontekście ryzyka pożaru mają szczególne znaczenie. Warunki Techniczne kładą duży nacisk na to, aby te instalacje były wykonane zgodnie z najwyższymi standardami bezpieczeństwa. Oznacza to wymóg profesjonalnego projektu, wykonanego przez uprawnionego projektanta, a następnie wykonawstwa przez wykwalifikowanych specjalistów. Co równie ważne, kluczowe są regularne przeglądy techniczne zarówno instalacji gazowych, jak i elektrycznych które pozwalają wykryć ewentualne usterki i zapobiec awariom, które mogłyby prowadzić do pożaru lub innych zagrożeń. To inwestycja w spokój i bezpieczeństwo na lata.
Zdrowie i komfort mieszkańców: wymagania dotyczące higieny, hałasu i światła
Warunki Techniczne nie tylko dbają o bezpieczeństwo, ale także o zdrowie i komfort mieszkańców, co w mojej ocenie jest równie ważne. Przepisy precyzyjnie określają wymagania dotyczące zapewnienia odpowiedniego nasłonecznienia i oświetlenia naturalnego w pomieszczeniach mieszkalnych. Celem jest zagwarantowanie dostępu do światła dziennego, które ma kluczowe znaczenie dla naszego samopoczucia i zdrowia. Wymagane jest, aby pomieszczenia mieszkalne miały zapewnione co najmniej 3 godziny nasłonecznienia w dniach równonocy, a minimalna powierzchnia okien (liczona w świetle ościeżnicy) musi wynosić co najmniej 1/8 powierzchni podłogi pomieszczenia. To z pozoru proste zasady, ale ich przestrzeganie ma ogromny wpływ na jakość życia w budynku.
Kolejnym aspektem wpływającym na komfort jest ochrona przed hałasem i drganiami. Żyjemy w coraz głośniejszym świecie, dlatego Warunki Techniczne stawiają wysokie wymagania w zakresie izolacyjności akustycznej przegród budowlanych zarówno tych oddzielających mieszkania od siebie, jak i tych odgradzających od źródeł hałasu zewnętrznego (ulice, tory kolejowe). Normy te mają na celu zapewnienie komfortu akustycznego mieszkańcom, chroniąc ich przed nadmiernym hałasem z zewnątrz i wewnątrz budynku. W praktyce oznacza to stosowanie odpowiednich materiałów izolacyjnych, a także dbałość o detale wykonawcze, które mogą być mostkami akustycznymi.
Niezwykle istotne dla zdrowia jest także zapewnienie odpowiedniej jakości powietrza w pomieszczeniach. Warunki Techniczne szczegółowo regulują kwestie wentylacji, która jest niezbędna do usuwania zanieczyszczeń, wilgoci i dwutlenku węgla. Wyróżniamy kilka typów wentylacji, których zastosowanie zależy od specyfiki budynku i wymagań WT:
- Wentylacja grawitacyjna: Najprostszy system, oparty na naturalnym ruchu powietrza dzięki różnicy temperatur i ciśnień. Skuteczna w mniejszych budynkach, ale wrażliwa na warunki atmosferyczne.
- Wentylacja mechaniczna: System wymuszający ruch powietrza za pomocą wentylatorów. Pozwala na precyzyjną kontrolę nad wymianą powietrza i jest często stosowana w większych obiektach.
- Rekuperacja (wentylacja mechaniczna z odzyskiem ciepła): Najbardziej zaawansowany i energooszczędny system, który nie tylko wymienia powietrze, ale także odzyskuje ciepło z powietrza wywiewanego, co znacząco obniża koszty ogrzewania. Zgodnie z WT, w nowoczesnym budownictwie jest to często preferowane rozwiązanie.
Niezależnie od wybranego typu, kluczowe jest prawidłowe zaprojektowanie i wykonanie systemu, aby zapewnić ciągłą i efektywną wymianę powietrza.
Ochrona przed wilgocią i zagrzybieniem to kolejny priorytet Warunków Technicznych, mający bezpośredni wpływ na zdrowie mieszkańców i trwałość budynku. Przepisy wymagają stosowania odpowiednich rozwiązań technicznych, które skutecznie zabezpieczą budynek przed przenikaniem wody z gruntu, opadów atmosferycznych oraz kondensacją pary wodnej. Obejmuje to przede wszystkim izolacje przeciwwilgociowe i termiczne. Skuteczna izolacja fundamentów, ścian zewnętrznych, dachów oraz prawidłowo wykonana wentylacja to podstawa. Zaniedbanie tych aspektów może prowadzić do powstawania pleśni i grzybów, które są szkodliwe dla zdrowia i niszczą konstrukcję budynku. W mojej praktyce zawsze zwracam szczególną uwagę na detale wykonawcze w tym zakresie.

Energooszczędność w praktyce: jak sprostać aktualnym standardom WT?
Współczesne Warunki Techniczne kładą ogromny nacisk na energooszczędność, co jest zgodne z europejskimi trendami i dążeniem do zrównoważonego budownictwa. Kluczowym wskaźnikiem jest współczynnik przenikania ciepła U, który informuje nas o tym, ile ciepła ucieka przez dany element przegrody budowlanej (ścianę, okno, dach) na zewnątrz. Im niższa wartość U, tym lepsza izolacyjność termiczna, a co za tym idzie mniejsze straty ciepła i niższe rachunki za ogrzewanie. Aktualne Warunki Techniczne (WT 2021 i nowsze) sukcesywnie zaostrzają te normy. Poniżej przedstawiam maksymalne wartości współczynnika U, które muszą spełniać kluczowe przegrody:
| Przegroda budowlana | Maksymalna wartość współczynnika U [W/(m²·K)] |
|---|---|
| Ściany zewnętrzne | 0,20 |
| Dachy, stropodachy i stropy pod nieogrzewanymi poddaszami | 0,15 |
| Stropy nad piwnicami nieogrzewanymi lub gruntem | 0,25 |
| Okna i drzwi balkonowe | 0,90 |
| Okna połaciowe | 1,10 |
| Drzwi zewnętrzne | 1,30 |
Te wartości są wyzwaniem, ale jednocześnie motywują do stosowania nowoczesnych i efektywnych rozwiązań izolacyjnych.
Poza współczynnikiem U, niezwykle ważnym wskaźnikiem jest roczne zapotrzebowanie na nieodnawialną energię pierwotną (EP). Wskaźnik ten wyrażany jest w kWh/(m²·rok) i określa całkowite zapotrzebowanie budynku na energię ze źródeł nieodnawialnych (np. węgiel, gaz ziemny, olej opałowy) do celów ogrzewania, wentylacji, przygotowania ciepłej wody użytkowej, a także chłodzenia i oświetlenia. Im niższa wartość EP, tym bardziej ekologiczny i energooszczędny jest budynek. Wskaźnik EP ma bezpośredni wpływ na projekt instalacji grzewczej i wymusza stosowanie rozwiązań, które minimalizują zużycie energii pierwotnej, np. poprzez wykorzystanie odnawialnych źródeł energii.
Właśnie w tym kontekście odnawialne źródła energii (OZE) odgrywają kluczową rolę w spełnianiu wymagań Warunków Technicznych. Zastosowanie systemów takich jak panele fotowoltaiczne, kolektory słoneczne, pompy ciepła czy wentylacja mechaniczna z odzyskiem ciepła (rekuperacja) znacząco obniża wskaźnik EP. Warunki Techniczne nie narzucają konkretnych technologii, ale poprzez zaostrzone normy dotyczące EP, skutecznie promują wykorzystanie OZE. Dzięki nim budynki stają się nie tylko bardziej ekologiczne, ale także tańsze w eksploatacji, co jest korzyścią zarówno dla środowiska, jak i dla portfela inwestora.
Podsumowując, zaostrzone standardy WT mają bardzo konkretne, praktyczne konsekwencje dla inwestorów i budujących. Nie ma już miejsca na kompromisy w kwestii izolacji. Oznacza to konieczność stosowania grubszych warstw ocieplenia, wyboru energooszczędnych okien i drzwi o niskim współczynniku U, a także inwestowania w nowoczesne technologie grzewcze, takie jak pompy ciepła czy kotły kondensacyjne. W praktyce projektowanie i budowa stały się bardziej złożone i wymagają większej wiedzy technicznej, ale efektem są budynki, które są zdrowsze, tańsze w utrzymaniu i bardziej przyjazne dla środowiska.

Budownictwo bez barier: jak projektować zgodnie z zasadami dostępności?
Idea budownictwa bez barier, czyli projektowania przestrzeni dostępnych dla wszystkich, niezależnie od ich sprawności fizycznej, jest coraz silniej zakorzeniona w przepisach Warunków Technicznych. Udogodnienia dla osób z niepełnosprawnościami są obowiązkowe przede wszystkim w budynkach użyteczności publicznej oraz w budynkach mieszkalnych wielorodzinnych. Obejmuje to zarówno nowo budowane obiekty, jak i te poddawane znaczącej przebudowie. Kluczowe udogodnienia, które muszą być zapewnione, to:
- Dostęp do wejścia do budynku i wszystkich jego pomieszczeń użytkowych.
- Możliwość swobodnego poruszania się wewnątrz budynku.
- Dostęp do urządzeń sanitarnych.
- Odpowiednie warunki ewakuacji.
To moim zdaniem jeden z najważniejszych aspektów nowoczesnego projektowania, który świadczy o dojrzałości społeczeństwa.
Aby zapewnić pełną dostępność, Warunki Techniczne precyzują szereg kluczowych parametrów projektowych. Nie są to jedynie ogólne wytyczne, ale konkretne wymiary, które muszą być przestrzegane. Do najważniejszych należą:
- Minimalna szerokość drzwi: Drzwi do pomieszczeń, z których korzystają osoby niepełnosprawne, muszą mieć w świetle ościeżnicy co najmniej 90 cm.
- Minimalna szerokość korytarzy: Ciągi komunikacyjne powinny mieć szerokość co najmniej 1,20 m, aby umożliwić swobodne manewrowanie wózkiem inwalidzkim.
- Wymóg braku progów: Wszelkie progi na drogach komunikacyjnych muszą być zniwelowane lub zaprojektowane w sposób umożliwiający łatwe ich pokonanie przez osoby na wózkach.
- Odpowiednie wymiary toalet: Toalety dostępne dla osób niepełnosprawnych muszą mieć odpowiednią powierzchnię i wyposażenie (np. uchwyty, odpowiednia wysokość miski ustępowej).
Dbałość o te detale jest kluczowa dla komfortu i samodzielności użytkowników.
W budynkach wielorodzinnych i użyteczności publicznej, gdzie pokonywanie pięter jest nieuniknione, Warunki Techniczne szczegółowo regulują wymagania techniczne dotyczące wind, podjazdów i platform dla osób z niepełnosprawnościami. Windy muszą być odpowiednio przestronne, wyposażone w przyciski na odpowiedniej wysokości oraz systemy sygnalizacji dźwiękowej i wizualnej. Podjazdy muszą mieć odpowiednie nachylenie (maksymalnie 8% dla podjazdów zewnętrznych) i być wyposażone w poręcze. W niektórych przypadkach, zwłaszcza przy mniejszych różnicach poziomów, dopuszczalne jest stosowanie platform przyschodowych lub pionowych. Wszystkie te rozwiązania mają jeden cel: zapewnienie pełnej swobody przemieszczania się i dostępu do wszystkich funkcji budynku.
Najczęstsze błędy i pułapki interpretacyjne w Warunkach Technicznych jak ich uniknąć?
Jedną z najczęstszych pułapek, z jaką spotykam się w mojej praktyce, jest przekonanie, że jeśli budynek powstał w innym reżimie prawnym, to nie musi spełniać aktualnych Warunków Technicznych. Nic bardziej mylnego, zwłaszcza gdy planujemy zmianę sposobu użytkowania obiektu. Taka zmiana, na przykład z magazynu na biura, z budynku gospodarczego na mieszkalny, czy z mieszkania na gabinet lekarski, często wiąże się z koniecznością dostosowania obiektu do aktualnych przepisów WT. Wymogi te mogą dotyczyć zarówno bezpieczeństwa pożarowego, izolacyjności termicznej, jak i dostępności dla osób niepełnosprawnych. Niestety, wiele osób dowiaduje się o tym zbyt późno, co generuje dodatkowe koszty i opóźnienia.Podobnie jest w przypadku nadbudowy i rozbudowy istniejącego budynku. Warunki Techniczne jasno wskazują, że nowo powstające części czy to dodatkowe piętro (nadbudowa), czy nowe skrzydło (rozbudowa) muszą spełniać aktualne normy. Co więcej, często konieczne jest również dostosowanie istniejącej części budynku, zwłaszcza w zakresie bezpieczeństwa pożarowego czy efektywności energetycznej, jeśli rozbudowa jest znacząca. To złożona kwestia, która wymaga szczegółowej analizy projektu i często wiąże się z koniecznością wykonania ekspertyz technicznych. Zawsze radzę, aby już na etapie koncepcji skonsultować takie plany z doświadczonym architektem i konstruktorem.
W obliczu tak wielu szczegółowych przepisów i ciągłych nowelizacji, naturalne jest, że pojawiają się wątpliwości interpretacyjne. Gdzie szukać wiarygodnych informacji i pomocy? Z mojego doświadczenia wynika, że warto polegać na sprawdzonych źródłach i specjalistach:
- Architekci i inżynierowie budownictwa: To osoby, które na co dzień pracują z Warunkami Technicznymi i posiadają praktyczną wiedzę na temat ich stosowania.
- Rzeczoznawcy budowlani: W przypadku skomplikowanych problemów lub sporów, ich opinia może być nieoceniona.
- Urządzenia administracji architektoniczno-budowlanej: Pracownicy starostw powiatowych czy urzędów miast (wydziały architektury) mogą udzielić ogólnych informacji, choć nie zawsze są uprawnieni do szczegółowych interpretacji.
- Izby Inżynierów Budownictwa i Izby Architektów: Często publikują materiały pomocnicze i organizują szkolenia.
- Specjalistyczne portale branżowe i wydawnictwa: Oferują aktualne teksty przepisów wraz z komentarzami ekspertów.
Pamiętajmy, że inwestowanie w wiedzę i profesjonalne doradztwo na wczesnym etapie projektu to najlepsza droga do uniknięcia kosztownych błędów i zapewnienia zgodności z Warunkami Technicznymi.
